Tier & Natur > >  Wespen

Hornissen (Vespa crabro)

Hornissennest   Hornissenkasten
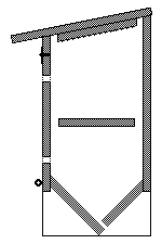
Das Nest hängt nur an einem Zapfen. Eine zu große Baum-Öffnung wird durch Lamellen (links) verengt. In Faulstoffen unter dem Nest leben Fliegenmaden.   Hornissen-Nistkasten aus Siebdruckplatten:
Tür mit Scharnier und zwei Löchern, innen rauher Dachplatte, Sicherungsleiste(n) und 2 schrägen Bodenplatten.

Das Kurzportrait der Hornisse findet sich bei den übrigen Wespen. Die Art hat es schwerer als ihre kleineren Verwandten, u. a. weil ihr ein schlechter Ruf vorauseilt – auch unter Leuten, die nie bewußt eines dieser schönen Insekten gesehen haben. Hornissen legen ihre Nester, wie gesagt, in Höhlungen an; gerade Baumhöhlen sind aber sehr selten geworden, da viele Menschen es unüberlegt für selbstverständlich halten, alte Bäume zu fällen, wenn z. B. Höhlungen ihre Altersschwäche verraten. Sucht sich eine Königin dann alternativ eine Höhle in einem Gebäude, wird sie gleich zur Gefahr, selbst wenn dieses kaum benutzt wird. Wir sollten also Ersatz-Brutraum dort schaffen, wo sich niemand gestört fühlt:

Künstliche Nisthöhlen
Geeignete Hornissenkästen sind bei Schwegler oder Strobel erhältlich (siehe "Bezugsquellen" unter Nisthilfen), sie lassen sich aber auch relativ leicht selber bauen:
Brauchbar ist witterungsbeständiges Massivholz, lasiertes Multiplex (= wasserfestes Sperrholz) oder am besten witterungsbeständige Siebdruckplatten, wenn dieses später innen durch sägerauhe Holzplatten verstärkt wird, an denen sich die Insekten festhalten können. Der Kasten sollte eine aufklappbare Tür und ungefähre Innenmaße von 25 x 25 x 50 cm (B x T x H) haben; er kann auch etwas länger oder etwas breiter als tief sein – Idealmaße kommen ja in der Natur, speziell in verrottenden Baumstämmen, auch nicht vor. Was ihn von anderen Kisten vor allem unterscheidet, sind vier Merkmale:

Handhabung
Hornissenkästen sollte man dort anbringen, wo dichte in lichte Vegetation übergeht: an den Außen- und Innenrändern (Lichtungen) von Laubwäldern, in Parklandschaften etc. Da der Anflugbereich frei von Ästen sein muß, sollte der Kasten ausreichend hoch (4 m) und an wenig exponierter Stelle angebracht werden, um Provokationen der Insekten durch uneinsichtige Menschen zu vermeiden; eventuell kann ein Stück aufgeklebte oder aufgenagelte Rinde das Objekt tarnen. Der Nistkasten sollte auch nicht baumeln und in freiem Gelände mindestens 100 m vom nächsten Hornissenvolk entfernt sein, um erbitterte Revierkämpfe zu vermeiden. Die Reinigung sollte ausnahmsweise erst im April erfolgen, um anderen Nützlingen der Insektenwelt ein Winterquartier zu bieten.

Bau eines ...   ... Hornissennestes
Ein Hornissennest wird Wespen-typisch von oben nach unten gebaut. Fotos: H. Sang  

Hornisse in Abwehrhaltung   Hornissennest

Hornissenwächter am Eingang   Eine abwehrbereite Hornisse, eine Königin auf der ersten Wabenetage, ein Nest von unten gesehen, eine Wächterin am Eingang: vier ausgezeichnete Aufnahmen des Fotografen Konrad Schmidt. Weitere Fotos: www.hornissenschutz.de!
Hornissenwaben

Falls am linken Bildschirm-Rand keine Verweisleiste zu sehen ist, klicken Sie bitte auf , um den gesamten Frameset anzuzeigen.

Grabwespen